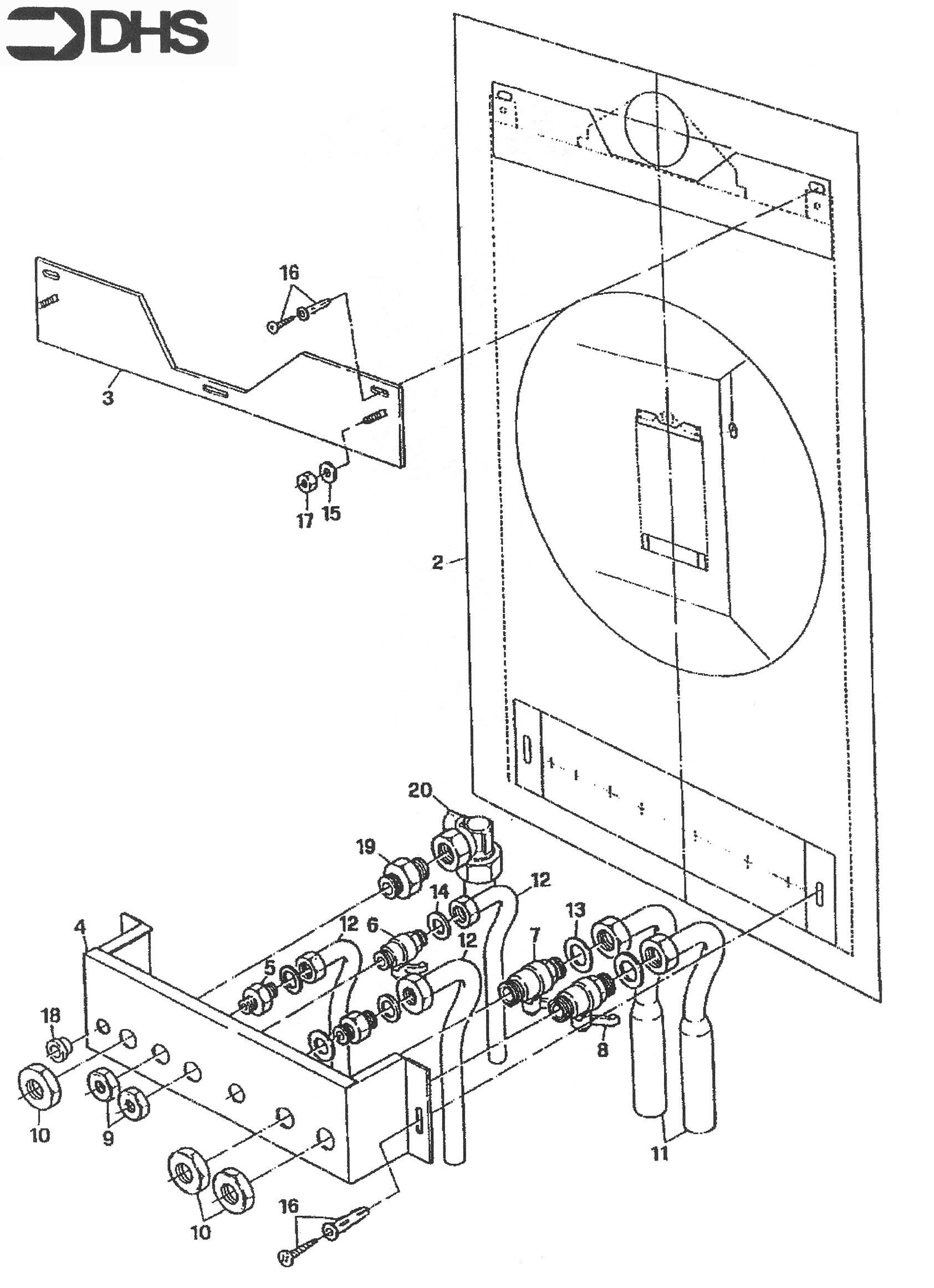
Ferroli Combi 76 FF / JIG BRACKET & COCKS
Brand: Ferroli Range: Combi Model: 76 FF GC Number: 47-267-03
We have a wide range of spare parts for the Ferroli Combi 76 FF. Can't find the part you're looking for? You can contact us and a member of our team will be more than happy to help find the part you need.
All of our boiler manuals are free to download from our boiler manuals section
14 Ferroli 30810850 Washer - 1/2" CF4324 (K42) - Optima/Combi FF/Hawk 11
Part No: 1210012 MPN: 30810850
