Ferroli Combi 76 FF

We offer a wide range of spare parts for the Ferroli Combi 76 FF. Can't find the part you're looking for? You can contact us (using the details at the bottom of the page) and we'll be happy to help you find the part you need.

All of our boiler manuals are free to download from our boiler manuals section.

ADDITIONAL PARTS
ALL PARTS FOR THIS MODEL
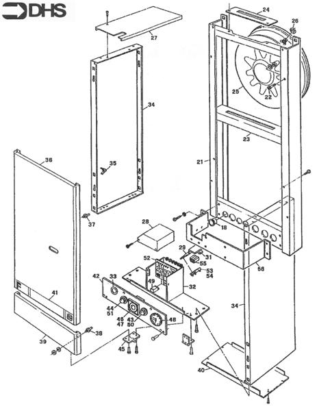
CASING ASSY / CONTROL BOX logo
CASING ASSY / CONTROL BOX
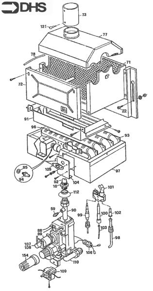
GAS TRAIN & COMBUSTION CHAMBER logo
GAS TRAIN & COMBUSTION CHAMBER
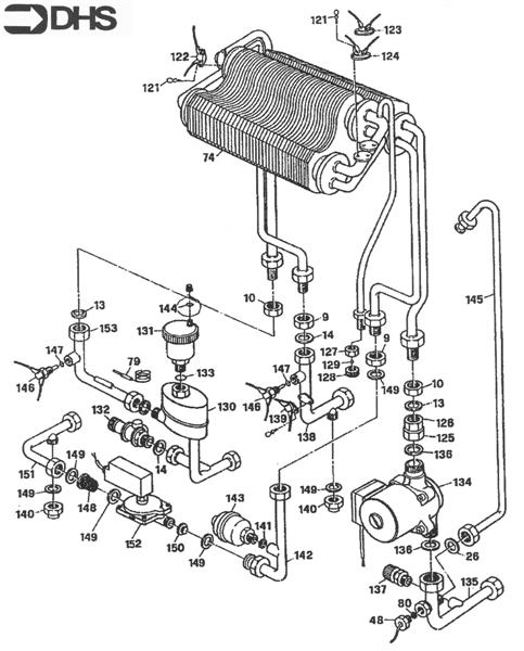
HEAT EXCHANGER FOR CH & DHW & logo
HEAT EXCHANGER FOR CH & DHW &
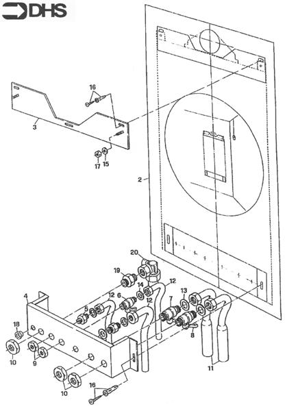
JIG BRACKET & COCKS logo
JIG BRACKET & COCKS
ROOM SEALED COMPARTMENT logo
ROOM SEALED COMPARTMENT
SHORT PARTS LIST