Glowworm Compact 75 E

We offer a wide range of spare parts for the Glowworm Compact 75 E. Can't find the part you're looking for? You can contact us (using the details at the bottom of the page) and we'll be happy to help you find the part you need.

All of our boiler manuals are free to download from our boiler manuals section.

BURNER logo
BURNER
CASING logo
CASING
CONTROLS logo
CONTROLS
FAN AND MOTOR logo
FAN AND MOTOR
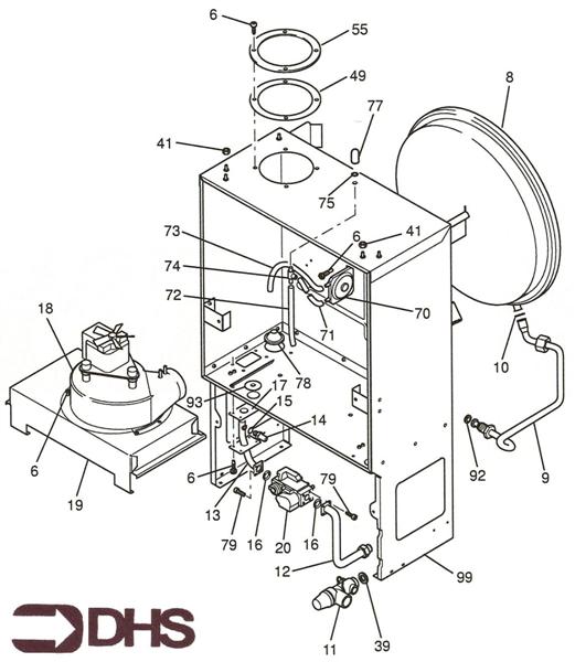
FAN ASSY AND PUMP
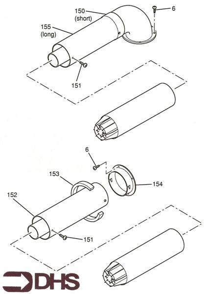
FLUE ASSY logo
FLUE ASSY
FULL PARTS LISTING FOR THIS MO
GAS PIPE ASSY logo
GAS PIPE ASSY
HEAT EXCHANGER logo
HEAT EXCHANGER
SHORT PARTS LIST
WATER VALVE logo
WATER VALVE