Potterton Promax HE Store 115 Litres

We offer a wide range of spare parts for the Potterton Promax HE Store 115 Litres. Can't find the part you're looking for? You can contact us (using the details at the bottom of the page) and we'll be happy to help you find the part you need.

All of our boiler manuals are free to download from our boiler manuals section.

ALL PARTS
ALL PARTS
COMBUSTION BOX logo
COMBUSTION BOX
CONTROLS logo
CONTROLS
HEAT EXCHANGER logo
HEAT EXCHANGER
HYDRAULICS logo
HYDRAULICS
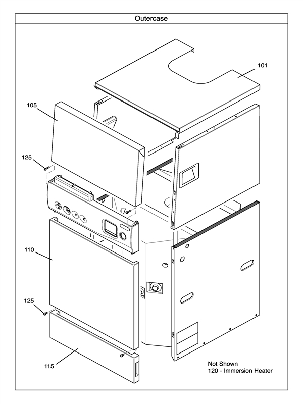
OUTER CASE logo
OUTER CASE
SHORT PARTS
SHORT PARTS LIST logo
SHORT PARTS LIST
WIRING HARNESS logo
WIRING HARNESS