Baxi Duotec HE 24

We offer a wide range of spare parts for the Baxi Duotec HE 24. Can't find the part you're looking for? You can contact us (using the details at the bottom of the page) and we'll be happy to help you find the part you need.

All of our boiler manuals are free to download from our boiler manuals section.

ALL PARTS
CASING logo
CASING
COMBUSTION BOX logo
COMBUSTION BOX
CONTROLS logo
CONTROLS
FLUE logo
FLUE
HEAT EXCHANGER logo
HEAT EXCHANGER
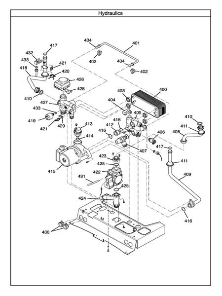
HYDRAULICS logo
HYDRAULICS
SHORT PARTS
SHORT PARTS LIST logo
SHORT PARTS LIST
WALL JIG & HYDRAULIC CONNS logo
WALL JIG & HYDRAULIC CONNS
WIRING HARNESS logo
WIRING HARNESS