Main Pageant 852/868 / COMPLETE MODEL
Brand: Main Spare Parts Range: PAGEANT Model: 852/868 GC Number: 32-477-67
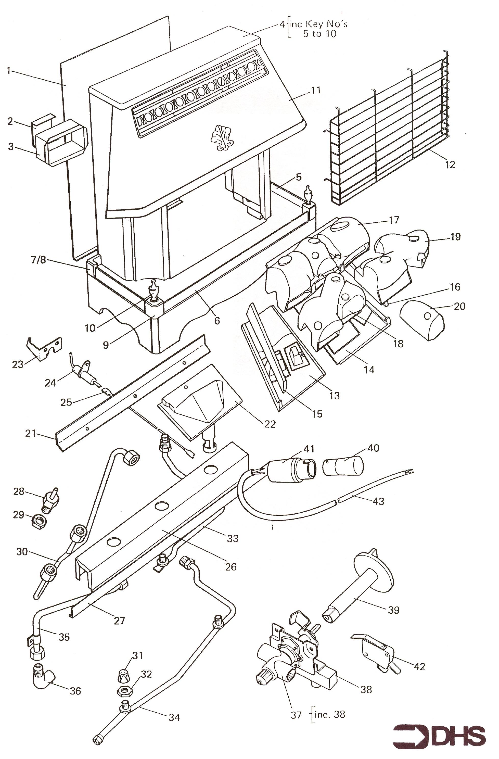
We have a wide range of spare parts for the Main Spare Parts Pageant 852/868. Can't find the part you're looking for? You can contact us and a member of our team will be more than happy to help find the part you need.
All of our boiler manuals are free to download from our boiler manuals section
