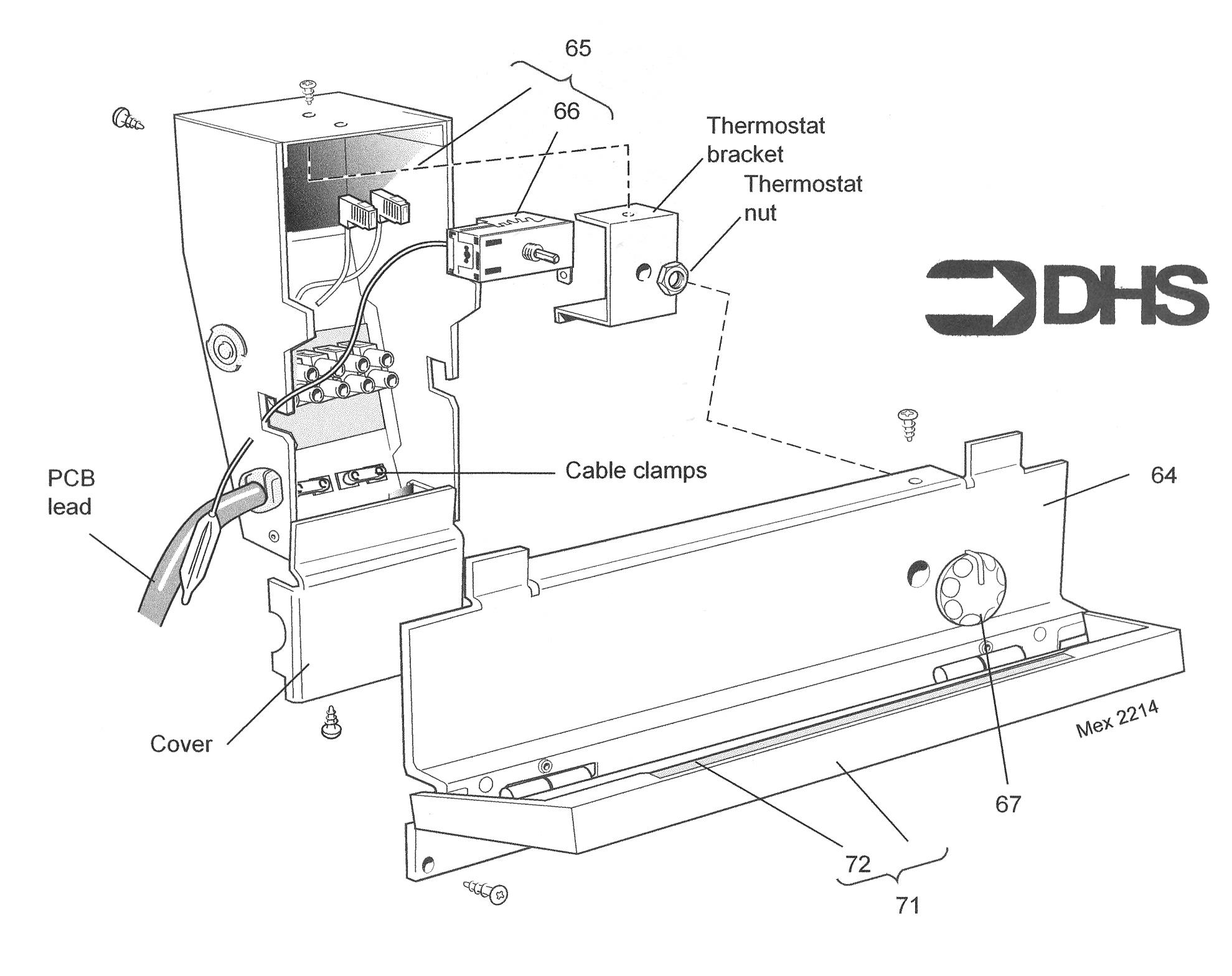
Ideal Domestic Mexico Super RS 485 / CONTROL PANEL
Brand: Ideal Domestic Range: MEXICO Super Model: RS 485 GC Number: 41-392-78
Here you will find all the spare parts for the Ideal Domestic Mexico Super RS 485. Can't find the part you're looking for? You can contact us and a member of our team will be more than happy to help find the part you need.
Installation ManualAll of our boiler manuals are free to download from our boiler manuals section
