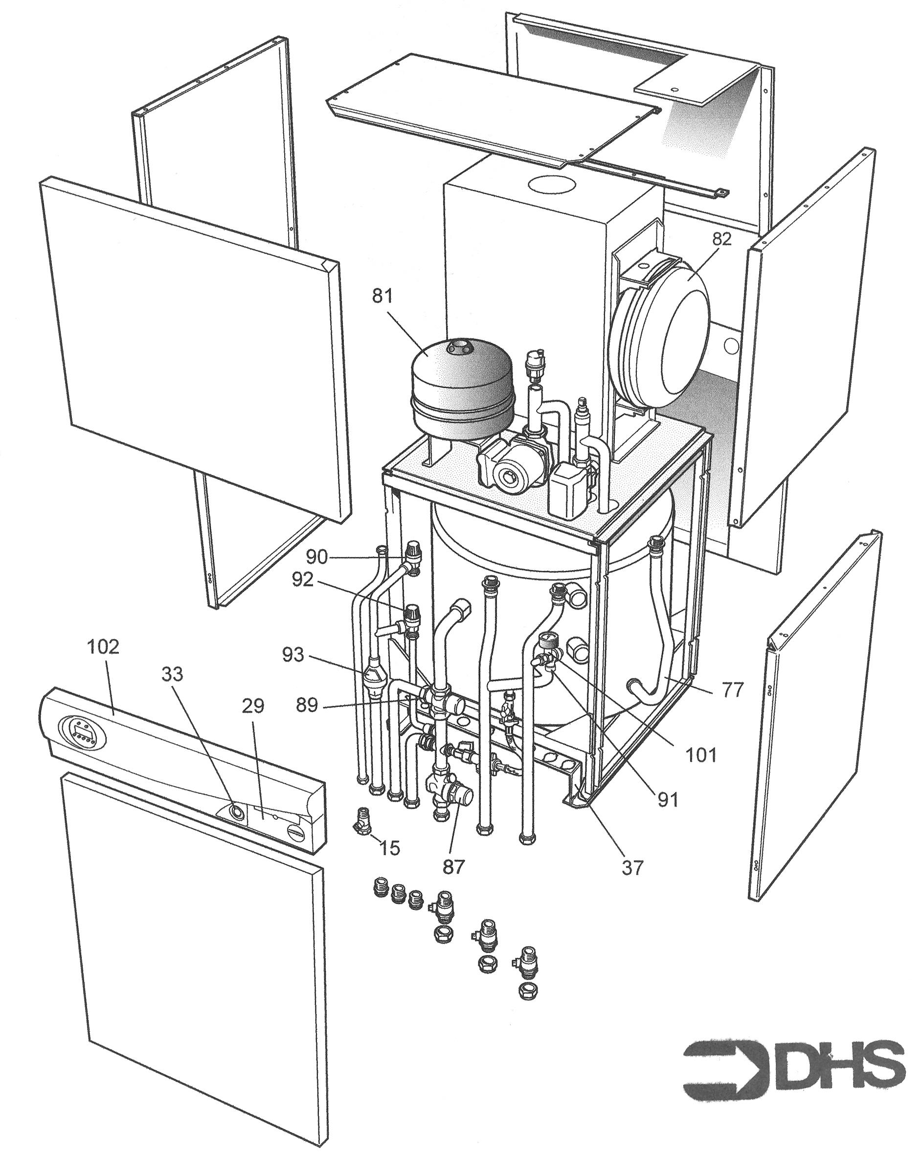
Ideal Domestic Istor HE 260 / TANK MODULE
Brand: Ideal Domestic Range: ISTOR HE Model: 260 GC Number: 41-394-13
We have a range of spare parts for the Ideal Domestic Istor He 260. Can't find the part you're looking for? You can contact us and a member of our team will be more than happy to help find the part you need.
Installation ManualAll of our boiler manuals are free to download from our boiler manuals section
