Ideal Elan 2 RS RS75 - RS75 Propane

We offer a wide range of spare parts for the Ideal Elan 2 RS RS75 - RS75 Propane. Can't find the part you're looking for? You can contact us (using the details at the bottom of the page) and we'll be happy to help you find the part you need.

All of our boiler manuals are free to download from our boiler manuals section.

ALL PARTS FOR THIS MODEL
BOILER ASSY logo
BOILER ASSY
BURNER AND CONTROLS ASSY logo
BURNER AND CONTROLS ASSY
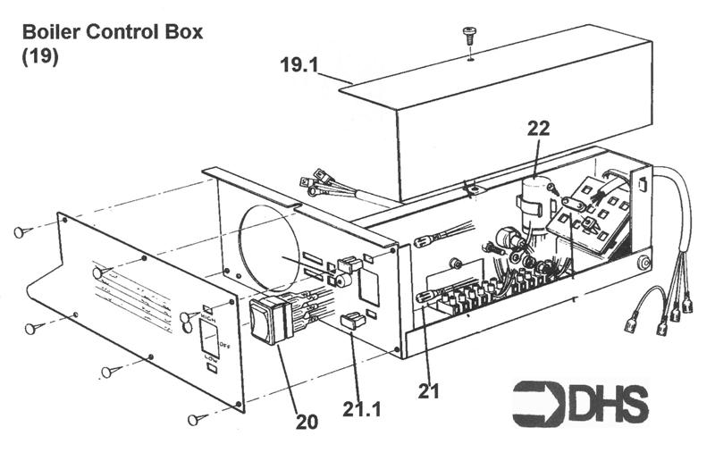
CONTROL BOX logo
CONTROL BOX
SHORT PARTS LIST logo
SHORT PARTS LIST
SHORT PARTS LIST 2