Ferroli Arena 30C

We offer a wide range of spare parts for the Ferroli Arena 30C. Can't find the part you're looking for? You can contact us (using the details at the bottom of the page) and we'll be happy to help you find the part you need.

All of our boiler manuals are free to download from our boiler manuals section.

ALL PARTS FOR THIS MODEL
CASING ASSY. logo
CASING ASSY.
ELECTRODE LINE logo
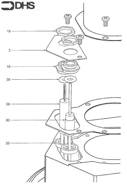
ELECTRODE LINE
EXPANSION VESSEL - PUMP logo
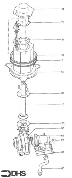
EXPANSION VESSEL - PUMP
FAN ASSY logo
FAN ASSY
FLUE ASSY logo
FLUE ASSY
HEAT EXCHANGER logo
HEAT EXCHANGER
SHORT PARTS LIST
WIRING ASSEMBLY logo
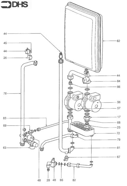
WIRING ASSEMBLY