POWERMAX 155 P SS

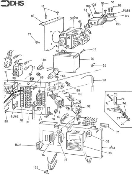
We offer a wide range of spare parts for the POWERMAX 155 P SS. Can't find the part you're looking for? You can contact us (using the details at the bottom of the page) and we'll be happy to help you find the part you need.

All of our boiler manuals are free to download from our boiler manuals section.

ALL PARTS FOR THIS MODEL
BOILER ASSEMBLY logo
BOILER ASSEMBLY
CONTROL ASSEMBLY logo
CONTROL ASSEMBLY
OUTER CASING logo
OUTER CASING
SHORT PARTS LIST