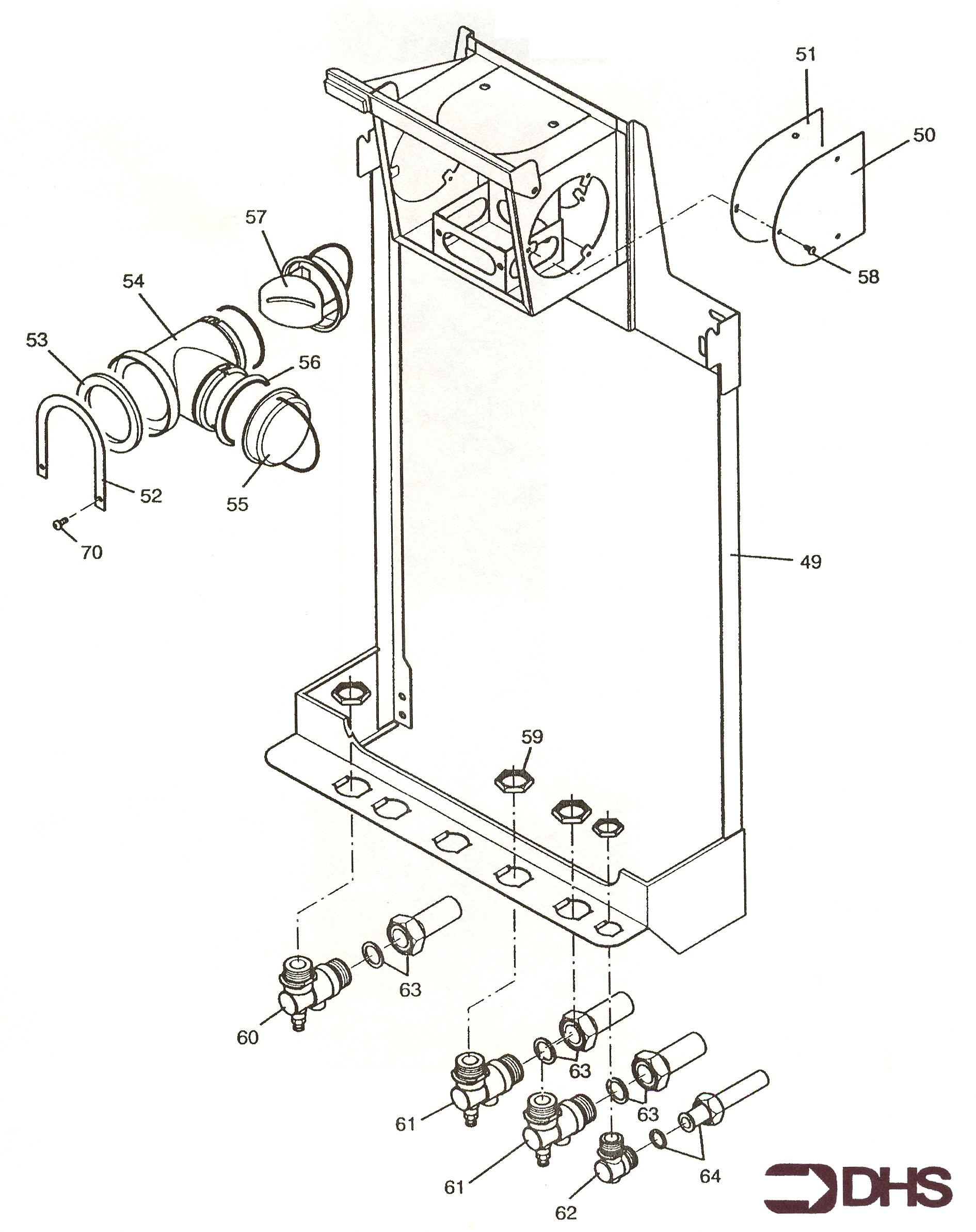
Baxi Solo 3 Pf System 40 / MOUNTING BRACKET
Brand: Baxi Range: Solo 3 Model: PF System 40 GC Number: 41-075-13
We have a wide range of spare parts for the Baxi Solo 3 Pf System 40. Can't find the part you're looking for? You can contact us and a member of our team will be more than happy to help find the part you need.
All of our boiler manuals are free to download from our boiler manuals section
