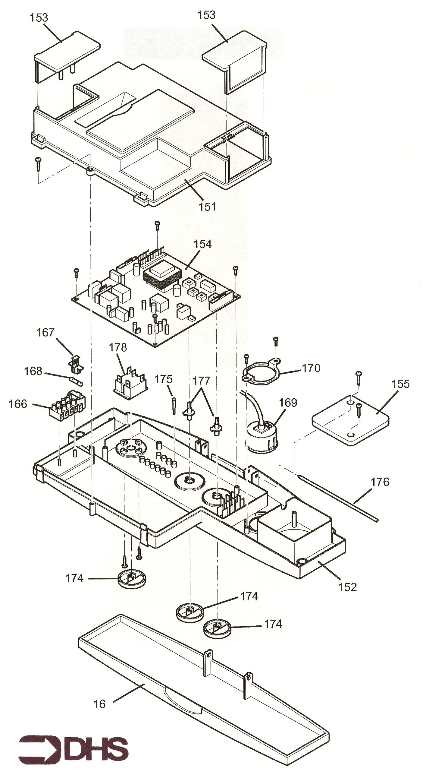
Baxi Combi e 105 / CONTROL ASSY
Brand: Baxi Range: Combi Model: e 105 GC Number: 47-075-08
We offer a wide range of spare parts for the Baxi Combi e 105. Can't find the part you're looking for? You can contact us and a member of our team will be more than happy to help find the part you need.
Installation ManualAll of our boiler manuals are free to download from our boiler manuals section
