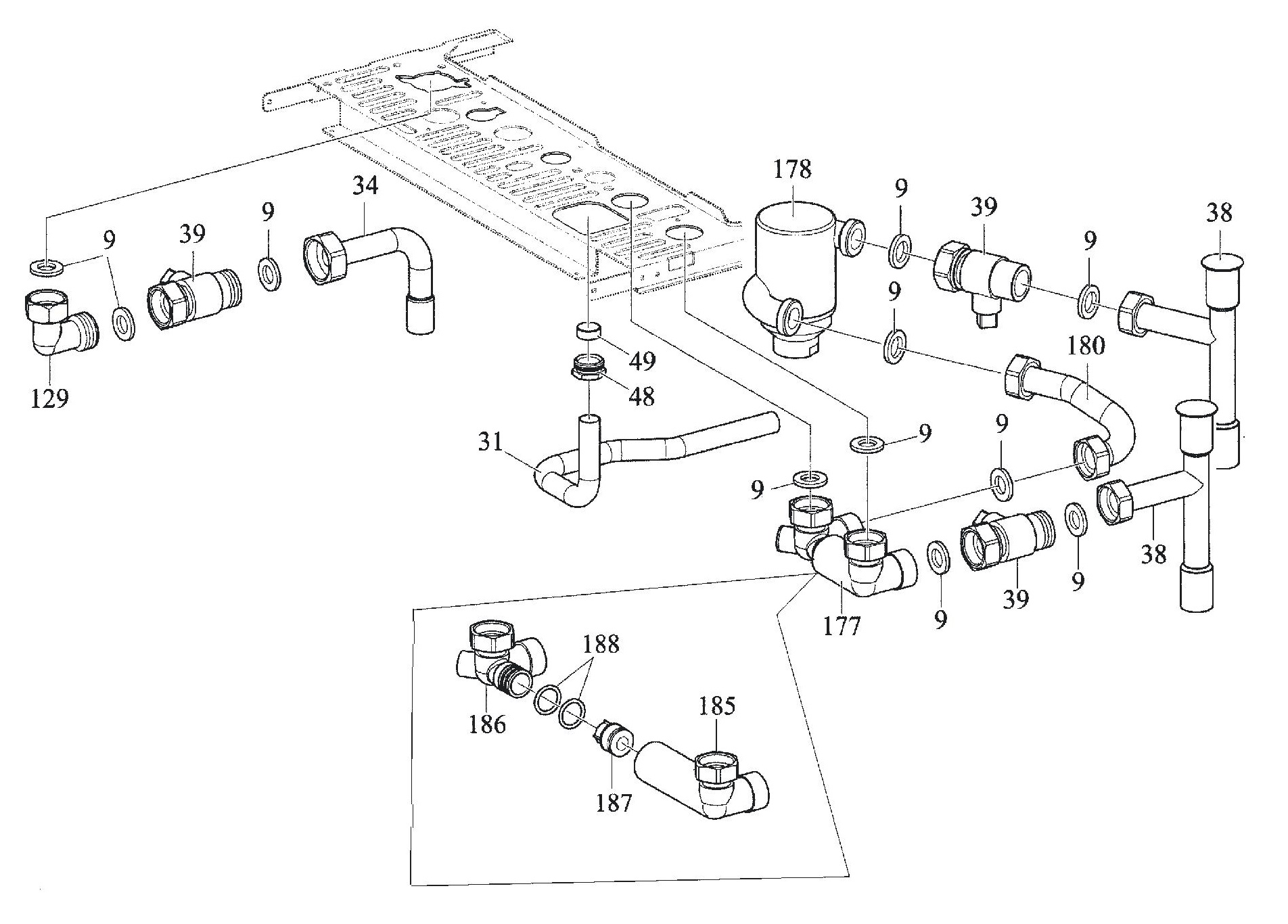
Alpha CD 24 S / VALVE COMPONENTS
Brand: Alpha Range: CD Model: 24 S GC Number: 41-532-02
Here you will find all the spare parts for the Alpha CD 24 S. Can't find the part you're looking for? You can contact us and a member of our team will be more than happy to help find the part you need.
All of our boiler manuals are free to download from our boiler manuals section
